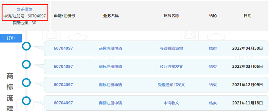
近日,中国商标网显示,喜茶关联公司深圳美西西餐饮管理有限公司(以下简称美西公司)申请的“喜茶摸鱼”商标注册成功,申请的类别是30类饮料糕点。

其实在美西公司申请“喜茶摸鱼”之前,已经有其他公司提交过“喜茶摸鱼”商标被驳回了。驳回通知书我们没法看到,但基本上可以判定是因为“喜茶”商标申请在先,导致“喜茶摸鱼”驳回。


还有其他各式各样的“摸鱼”:

瑞幸摸鱼

伊利摸鱼
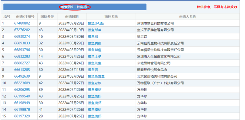
通过商标网查询可以知道,含有“摸鱼”的商标有411件商标。

Q:这么多 “摸鱼”商标,大部分都驳回了,为什么“喜茶摸鱼”能申请成功呢?
A:根据百度百科的解释,“摸鱼”为网络流行语,源自“浑水摸鱼”的现代理解,与“忙里偷闲”类似,或指在集体活动中,悄悄进行独立活动的行为。“摸鱼”不具备显著性,所以“喜茶摸鱼”在实质审查阶段,审查员会着重“喜茶”二字的审查。因为美西公司申请“喜茶”商标在先,且“喜茶”品牌在国内有一定知名度,所以其他人申请类似商标驳回的几率是比较高的。而作为“喜茶”商标所有人的美西公司申请“喜茶摸鱼”,即使“摸鱼”的显著性没那么高,但相对来说,美西公司申请的成功率是会比其他人高很多的。
Q:以后我平时聊天还能用“摸鱼”吗,会侵犯商标权吗?
A: 作为日常聊天使用词汇,并不会侵犯商标权。美西公司申请的商标是30类的“喜茶摸鱼”,只要别在饮料糕点等产品包装上使用“喜茶摸鱼”,是不会侵犯到美西公司商标权的。
Q:我上班真的摸鱼,会侵犯商标权吗?
A: 当然也不会,但你有可能会被扣工资。
--广典答疑小课堂
如果您有任何IP问题, 欢迎点击页面右侧按钮联系我们, 我们会尽快回复。
图片来源:商标网
文章及排版:广典知识产权
Copyright © 2021-2030 版权所有:广州广典知识产权代理事务所 备案号:粤ICP备16014038号